بينما أعلنت بنتلي في يوليو 2024 نهاية رحلتها مع محرك W12 الشهير، يبدو أن القصة لم تنته بعد، فشركة بورش تعمل في الخفاء على كتابة فصل جديد في تاريخ المحركات القوية، بعدما تقدمت رسميًا بطلب براءة اختراع لمحرك W12 جديد يتميز بتقنيات مبتكرة وتصميم هندسي فريد يعيد تعريف مفهوم الأداء العالي.


بورش تعتمد محرك W12 الجديد
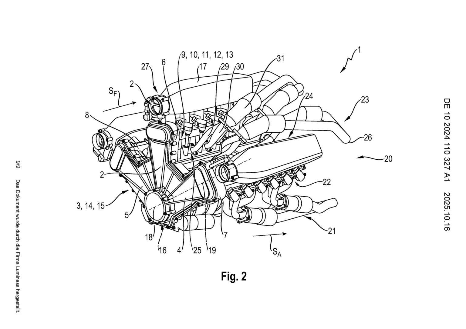
توضح وثائق براءة الاختراع أن بورش طورت محركًا بثلاثة صفوف من الأسطوانات (Three Cylinder Banks)، ما يجعله مختلفًا عن التصميمات التقليدية المعروفة في عالم السيارات الفاخرة.
يهدف هذا التكوين إلى تقليل الاحتكاك الداخلي بين الأجزاء المتحركة، وهو ما يعزز الكفاءة ويحسن من الأداء العام للمحرك، إلى جانب تقديم مرونة أكبر في تصميم هيكل السيارة وتوزيع مكوناتها الميكانيكية.
تشير تفاصيل البراءة أيضًا إلى أن المحرك الجديد من بورشه قد يستخدم أكثر من شاحن توربيني واحد، وهو ما يمنحه قدرة استجابة أسرع وأداءً أعلى عند التسارع.
كما ركزت الشركة على تصميم جديد لتدفق الهواء داخل غرف الاحتراق، ما يسمح بتبريد أفضل للمحرك وتحسين عملية الاحتراق لتحقيق توازن مثالي بين القوة والكفاءة.
إرث بنتلي يعود في ثوب ألماني
مع خروج محرك بنتلي W12 من الخدمة بعد أكثر من عقدين من الاستخدام في سيارات مثل Continental GT وMulsanne، بدا وكأن هذا النوع من المحركات قد أصبح جزءًا من الماضي.
لكن دخول بورش على الخط يعيد الأمل في استمرار فلسفة W12، لا سيما أن الشركة الألمانية معروفة بقدرتها على دمج الأداء العالي مع التكنولوجيا الدقيقة، ما قد يمهد لعودة قوية لهذا المحرك في طرازات مستقبلية تحمل شعار بورشه الرياضي الفاخر.
حتى الآن، لم تؤكد بورش رسميًا نيتها لإطلاق المحرك في أي من طرازاتها القادمة، لكن تسريب تفاصيل البراءة يشير إلى أن الشركة قد تكون تختبر نسخة هجينة أو كهربائية جزئيًا من المحرك لتتوافق مع توجهاتها المستقبلية نحو التحول إلى الطاقة النظيفة دون التضحية بالأداء الرياضي.
ومع عودة الاهتمام بالمحركات متعددة الأسطوانات في بعض الأسواق، قد نشهد خلال السنوات المقبلة عودة فئة جديدة من السيارات الفاخرة بمحركات W12 الألمانية، تحمل توقيع بورش هذه المرة.
0 تعليق